
探讨泄殖腔畸形术前个体化评估流程及其对手术方式的指导意义。
回顾性分析2011年3月至2017年11月接诊的31例泄殖腔畸形患儿的临床数据,阐释在姑息及根治术前进行的首次及二次评估中,通过B型超声、共同通道造影、磁共振及内窥镜检查等手段对泌尿、生殖系统伴发畸形、直肠盲端位置及共同通道长度等重要信息分析的临床意义,及其对泄殖腔畸形分型以及手术方式选择的指导意义。本组全部为女童,首次就诊年龄(280.25±731.01)d,年龄范围0~9岁,中位数为25 d;随访终末患儿年龄(51.91±44.13)个月,范围在11~192个月,中位数41个月。
本组确定共同通道小于1 cm的Ⅰ型畸形患儿10例,大于1 cm小于3 cm的低位畸形患儿14例,大于3 cm的高位畸形患儿7例。Ⅰ型畸形患儿中,3例行后矢状入路肛门成形术(posterior sagittal anorectoplasty,PSARP),7例行后矢状入路肛门成形+阴道后壁下移。低位畸形14例患儿全部采取后矢状入路肛门成形+尿生殖窦整体下移术。高位畸形1例仅行后矢状入路肛门成形术,未处理尿生殖窦;其余6例采取腹骶联合直肠阴道替代+肛门成形术。随访9个月至7年,平均38.46个月;31例患儿结肠造口均在术后3~6个月内关闭。1例患儿出现肛门狭窄,再次行后矢状入路肛门成形术治疗;2例患儿因肛门黏膜脱垂或肛周瘢痕形成再次手术;1例患儿因尿失禁行膀胱颈结扎及尿流改道。
在个体化的首次、二次评估策略指导下,以共同通道造影、CT、MR及内窥镜检查等为主的评估,可明确疾病分型及并发畸形,有效指导手术方式的选择。
版权归中华医学会所有。
未经授权,不得转载、摘编本刊文章,不得使用本刊的版式设计。
除非特别声明,本刊刊出的所有文章不代表中华医学会和本刊编委会的观点。
泄殖腔畸形(persistent cloaca,PC)是先天性肛门直肠畸形中最复杂的一类,国外文献报道其发病率约为1∶50 000[1]。常伴发多系统畸形,其中泌尿及生殖系统畸形解剖结构变异大,且相当比例需手术干预,这使得泄殖腔畸形的术前评估和重建手术非常具有挑战性[2,3,4]。以往的评估方式缺乏计划性及针对性,常存在误、漏诊,甚至实施错误手术[5,6]。共同通道的长度是确定重建手术方式的重要依据[7,8,9]。泄殖腔畸形患者通常根据共同通道的长度分为3类:①共同通道长度不超过1 cm者为Ⅰ型畸形;②共同通道1~3 cm间者为低位畸形;③共同通道不小于3 cm者为高位畸形。如何有针对性的选择评估流程、解析评估结果,以制定个体化的手术方案,决定了泄殖腔畸形患儿治疗后功能恢复的程度和远期生活质量。2011年3月至2017年11月间广州市妇女儿童医疗中心新生儿外科诊断为泄殖腔畸形通过评估明确合并畸形、确立分型并接受相应手术治疗患儿31例,现报告如下。
本研究经作者所在中心伦理委员会批准(穗妇儿科伦批字[2019]42601),在获得所有参与研究患儿家属知情同意后收集患儿临床资料、影像学信息及随访数据进行统计学分析。
本组31例全部为女童,首次就诊年龄(280.25±731.01)d,范围0~9岁,中位数为25 d;随访终末患儿年龄(51.91±44.13)个月,范围11~192个月,中位数41个月。
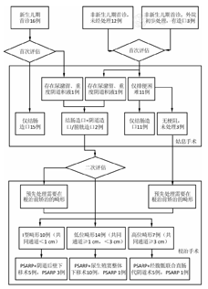
泄殖腔畸形患儿术前个体化评估的目标是:①明确诊断及伴发畸形,制定系列手术计划;②明确解剖分型,确定根治手术方式及入路;③评估/预估/预判预后。评估围绕两次手术展开,即姑息手术(首次评估)与根治手术术前评估(二次评估)。本组患儿的评估流程见图1。


注:PSARP,后矢状位肛门成形术
患儿常规行腹部X线片、B型超声、心脏彩色超声、磁共振(magnetic resonance,MR)、共同通道造影及内窥镜检查等,旨在明确需处理的阴道积液、泌尿生殖系统畸形、脊髓栓系等重要合并畸形发生情况。
患儿口服水合氯醛镇静后取仰卧位,使用1.5-T磁体线圈腹部序列对下腹部及盆区进行薄层扫描。T2矢状面序列加做脂肪抑制序列扫描。测量矢状位片阴道与小阴唇之间的直线距离(图2A中黑色线段)或水平面共同通道层数(图2B)作为共同通道长度用于手术决策。


注:B,膀胱;R,直肠;C,共同通道;V,阴道;黑色线段,指示共同通道长度
经共同通道置入6F/8F硅胶尿管,透视下注入水溶性造影剂。与共同通道相连的盆腔管道结构显影后行正、侧位X线摄片。考虑存在合并泌尿系统畸形者,经共同通道插管入膀胱后行逆行膀胱尿路造影术,测量阴道与小阴唇间的直线距离(图2C中黑色线段)作为共同通道长度用于手术决策。
患儿在骶管阻滞及静脉复合麻醉下取截石位,选取适宜的膀胱镜进行检查。进入共同通道后依次探查各腔道,确定瘘管及其开口位置,明确合并畸形。退镜时测量共同通道长度。
记录首次及二次评估中各种评估手段完成情况、并发畸形情况、个性化评估结果及相应手术方式、近期及门诊随访并发症。
纳入本次研究的31例,2次评估完成MR检查共计27例(87.10%),完成CT检查5例(16.13%),25例(80.65%)在评估时行共同通道造影检查,29例(93.55%)完善了泌尿生殖系统B型超声检查,28例(90.32%)行心脏彩色超声检查,24例(77.42%)术前行内窥镜检查。详见表1。

泄殖腔畸形患儿术前评估完成情况(例/%)
泄殖腔畸形患儿术前评估完成情况(例/%)
| 检查项目 | 首次评估 | 二次评估 | 合计 |
|---|---|---|---|
| 磁共振 | 12/38.71 | 19/61.29 | 27/87.10 |
| CT | 2/6.45 | 3/9.68 | 5/16.13 |
| 共同通道造影 | 9/29.03 | 18/58.06 | 25/80.65 |
| 泌尿生殖系统B型超声 | 26/83.87 | 16/51.61 | 29/93.55 |
| 心脏彩色超声 | 26/83.87 | 10/32.26 | 28/90.32 |
| 内窥镜检查 | 11/35.48 | 15/48.39 | 24/77.42 |
经过评估,10例(32.26%)术前确诊为Ⅰ型泄殖腔畸形(共同通道<1 cm),14例(45.16%)为低位泄殖腔畸形(共同通道≥1 cm,且<3 cm),7例(22.58%)为高位泄殖腔畸形(共同通道≥3 cm)。详见图1。
心血管系统伴发畸形最常见,包括卵圆孔未闭(15例)、动脉导管未闭(2例)及室间隔缺损(1例)等;脊柱畸形居其次,包括骶尾椎发育不良、缺如、椎板未闭(11例),及胸腰椎半锥体畸形(5例)等;生殖系统畸形主要表现为不同程度的阴道或子宫积液(6例)、阴道纵隔、双角子宫及阴道闭锁或子宫缺如等(共11例);泌尿系统主要为肾发育不良或缺如(6例),集合系统分离(4例),包括膀胱输尿管反流(原发或因尿潴留造成)(2例)、重复肾或马蹄肾(2例)等。其中2例重度反流患儿行根治术同时行双侧膀胱输尿管再植,1例行重复肾输尿管切除术。3例存在脊髓栓系,其他畸形表现为多指(趾)、肢体发育异常、唇腭裂、梅克尔憩室及肠重复畸形等(表2)。

泄殖腔畸形患儿合并其他系统畸形情况
泄殖腔畸形患儿合并其他系统畸形情况
| 畸形系统 | Ⅰ型畸形(例) | 低位畸形(例) | 高位畸形(例) | 未评估(例) | 合计(例/%) |
|---|---|---|---|---|---|
| 脊髓栓系 | 0 | 3 | 0 | 0 | 3/9.68 |
| 脊柱畸形 | 6 | 8 | 4 | 5 | 18/69.23 |
| 心血管畸形 | 9 | 10 | 4 | 3 | 23/82.14 |
| 泌尿系统畸形 | 6 | 7 | 4 | 0 | 17/54.84 |
| 生殖系统畸形 | 5 | 7 | 6 | 1 | 18/60.00 |
| 其他畸形 | 1 | 5 | 1 | 0 | 7/22.58 |
新生儿期首诊的患儿共16例(51.61%)。在全部31例中,3例就诊时外院已行结肠造口术,均为高位畸形患儿。其中1例首诊我院前外院已行根治术并已关闭造口,但尿道阴道重建失败,导致医源性尿道闭锁,该例带外院膀胱造瘘管入院。另1例患儿外院造口后尝试根治,但仅成形肛门,尿生殖窦未分离。28例就诊我院经过评估后行结肠造口术,其中1例低位畸形及1例高位畸形患儿在结肠造口同时行膀胱造瘘及阴道造瘘术。1例Ⅰ型畸形、2例低位畸形及1例高位畸形患儿首诊评估后即行根治手术,21例在二次评估后行根治手术(图1)。本研究全部31例中,有25例最终接受根治手术,具体情况见表3。典型手术过程见图3。



不同分型泄殖腔畸形患儿最终行根治术情况(例)
不同分型泄殖腔畸形患儿最终行根治术情况(例)
| 手术方法 | Ⅰ型畸形 | 低位畸形 | 高位畸形 | 合计 |
|---|---|---|---|---|
| 后矢状入路肛门成形术 | 3 | 1 | 1 | 5 |
| 阴道后壁下移术 | 5 | 0 | 0 | 5 |
| 整体下移术 | 0 | 10 | 0 | 10 |
| 阴道替代手术 | 0 | 0 | 5 | 5 |
| 合计 | 8 | 11 | 6 | 25 |
本组患儿结肠造口均在术后3~6个月内关闭,出现肛门狭窄1例,再次行后矢状位肛门成形术(posterior sagittal anorectoplasty,PSARP)治疗;2例患儿因肛门黏膜脱垂或肛周瘢痕形成再次手术;1例患儿因尿失禁行膀胱颈结扎及尿流改道。
泄殖腔畸形是女童直肠肛门畸形中最复杂的类型,新生儿期仅凭外观判断,易将其误诊为直肠前庭瘘等简单畸形。重建手术涉及多个系统,解剖复杂、变异较多。故其诊断及治疗给小儿外科医生提出了较高的要求。然而,国内大多数中心对该畸形的复杂程度认识不足[10]。本研究旨在参考国际经验,结合我们自己的探索成果,尝试提出一个操作性较强的个体化评估及手术方式选择的流程。
本组中有16例为新生儿期外院漏诊、或外院初步处理后转诊的患儿。由于泄殖腔畸形常合并阴道积液,重度积液可压迫膀胱颈造成尿潴留、输尿管反流及肾盂扩张,不及时处理将造成不可逆的肾功能损害。脊髓栓系如因漏诊不及时手术松解也会增加失禁、下肢瘫痪发生的概率。此外,任由患儿经共同通道排便,长时间易出现尿路感染,直肠盲端积粪会给根治手术造成困难。因此,肛门畸形女患儿新生儿期应仔细应对,做好鉴别。新生儿期泄殖腔畸形的诊断需从一丝不苟的查体开始,必要时需经可疑的腔道开口插管以确定其走行。凡是不能除外泄殖腔畸形诊断的患儿均需进入下一步评估流程以鉴别诊断。
大多数泄殖腔畸形患儿均存在不同程度的排便困难,需尽快行结肠造口术解除梗阻,在有限的时间窗内可选择周期短方便易行的检查手段明确是否存在需急诊处理的畸形,如需干预,易与结肠造口同期进行。本组均为左上腹横结肠双腔造口,造口肠袢近远端完全离断,远端肠管高于近端且将肠腔部分封闭仅留适合置管的小口,避免大便进入远端造成盲端肠闭肥厚扩张。多数泄殖腔畸形患儿远端乙状结肠、直肠发育差,部分患儿乙状结肠呈球状选取乙状结肠造口可能造成根治术时结肠无法拖下、阴道无法用结肠替代的尴尬局面,故笔者认为泄殖腔畸形患儿造口以选择横结肠为宜。
大量阴道积液合并尿潴留、膀胱输尿管反流或输尿管扩张是行阴道造瘘术的手术指征。本组中6例存在阴道积液,其中2例行阴道造瘘术。手术方式采用开放手术置管。存在少量阴道积液但无明显下尿路梗阻表现的患儿可动态观察积液变化情况。泄殖腔畸形合并原发性下尿路梗阻较少见,处理阴道积液后输尿管反流往往会明显好转,可待到根治术前二次评估复查后再进一步处理。
本组31例中,30例均存在不同程度的伴发畸形,其中14例(46.67%)接受手术治疗,可见其重要性,系统的有针对性地评估是关键环节。
二次评估主要围绕为根治手术术式选择提供可靠依据而展开。超声经济、无辐射,无需镇静,为两次评估最常用的检查手段,本研究有29例(93.55%)采用超声评估泌尿生殖系统畸形。泄殖腔造影检查是传统的评估手段,虽有成功率低、存在射线辐射等缺点,但其对各腔道形态和功能的动态显示作用仍不可替代,目前旋转透视三维重建等方法让立体评估成为可能[11]。MR对盆腔组织器官分辨率高,是泄殖腔畸形术前评估的理想手段[12,13,14]。然而是否应在首次评估(新生儿期)完善MR检查尚存在争议。欧洲儿科放射学学会认为MR产生噪音且需深度镇静,在中枢神经系统、泌尿生殖系统的评估作用并非不可替代,故不推荐直肠肛门畸形患儿新生儿期常规行MRI检查[15]。本组有12例(38.71%)在新生儿期行MR检查,2次评估共27例(87.10%)行MR。最重要的一步即通过测量共同通道长度确定泄殖腔畸形分型,后者直接决定了手术的入路和阴道替代的方式。本研究主要采用MR、共同通道造影及内窥镜3种方式,其原则均相同,即测量从可识别的阴道末端到会阴(小阴唇)的直线距离。如阴道因闭锁、缺如等原因不可见,则测量直肠末端到会阴的距离作为共同通道的长度。采用这种测量方法的原因如下:首先,阴道位置为重建手术方式的选择提供了重要信息。术中共同通道一般均卷管后作为尿道保留,直肠拖下肛门成形也可通过充分游离直肠、乙状结肠系膜达成,而阴道位置变化较多,重建术前需要进行详细的检查和计划。其次,在大多数情况下,阴道开口不高于直肠盲端。上述方法可简化问题。有经验的影像科医生与外科医生共同实施检查、阅片,有助于成功辨别共同通道及长度测量。而内窥镜检查能够进一步准确的核实影像学评估、更为立体的呈现泄殖腔畸形的解剖结构,作用同样重要。根据测量结果本组患儿被分为Ⅰ型泄殖腔畸形、低位畸形及高位畸形三型,分别对应阴道后壁下移、尿生殖窦整体下移及阴道替代手术3种手术方式,术中所见均证实了这种分型依据的准确性。
我中心采用的这种围绕2次手术开展的个体化评估措施可以有效的明确诊断、筛查伴发畸形,明确泄殖腔畸形分型,指导治疗计划的合理制定及确定个体化手术方案,短期随访治疗效果满意。MR及共同通道造影可初步判断泄殖腔畸形尿道阴道及直肠盲端位置,结合术前内窥镜检查所测量的共同通道长度完成个体化评估,可准确分型,并有效指导术式的选择。
所有作者均声明不存在利益冲突





















